由于6月19日毕业生同学要到校本部参加毕业典礼及毕业晚会,因此我院2023届毕业生毕业证、学位证发放时间调整为6月18日~6月19日,具体安排如下:
一、发证时间:
6月18日:13:00—15:00,以专业班级为单位领取,每班领证时间如下:
班级 |
领取时间 |
国软1901 |
13:00—13:15 |
国软1902 |
13:15—13:30 |
国软1903 |
13:30—13:45 |
国数1901 |
13:45—14:00 |
国数1902 |
14:00—14:15 |
国数1903 |
14:15—14:30 |
国数1904 |
14:30—14:45 |
延修及未按照班级领取的同学 |
14:45—15:00 |
6月19日:上午9:00—11:00,下午14:00—15:00(未能在18日领取的同学)
二、发证地点:
信息楼304室
三、发证要求:
1、为了保证证书领取秩序和速度请各班同学按学号从小到大排队领取。
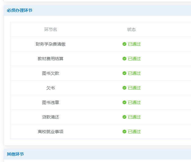
2、证书发放以离校报退系统审核结果为准,离校系统中“必须办理环节”各项均为“已通过”方可发证(如下图所示),请同学们提前登录离校报退系统完成各事项。【离校报退相关通知详见http://teach.dlut.edu.cn/zhongyaotonggao/ny.jsp?urltype=news.NewsContentUrl&wbtreeid=1016&wbnewsid=12321】

3、证书发放时,领取人凭本人身份证领取证书。凡是本人不能在发证时间内领取、委托其他同学代领的,代领人必须持委托书(附件1)原件和身份证复印件及代领人的身份证复印件方可领取。
4、未上交毕业论文纸质版的同学不得领取证书。
5、19日证书发放结束后,未及时发出的证书将返回校本部,未领取的以及6月15日~6月26日出成绩的同学,可以在该时段内的工作日至校本部主楼西侧楼208室领取毕业证书和学位证书,成绩统计时间截至6月26日17:00。